The Cloud Fortified Apps Program support requirements aim to ensure a consistent customer experience with minimal partner cost by standardizing on minimum expectations for support tickets.
Customers are free to contact partners directly; our goal is to standardize the customer experience when they start their support journey with Atlassian and provide a single source of truth for coordination between partners and Atlassian to resolve customer issues.
To meet the support requirements, please follow these instructions. In addition to initial approval, there are review and escalation processes to address cases that don't adhere to these standards.
For Cloud Fortified Apps approval, partners must commit to responding to customers and Atlassian support for T1 support issues within 24 hours, 5 days a week, in the Marketplace partner's local timezone.
The program seeks your commitment on the approval checklist, which is verified against your stated support policy on your Marketplace app listing.
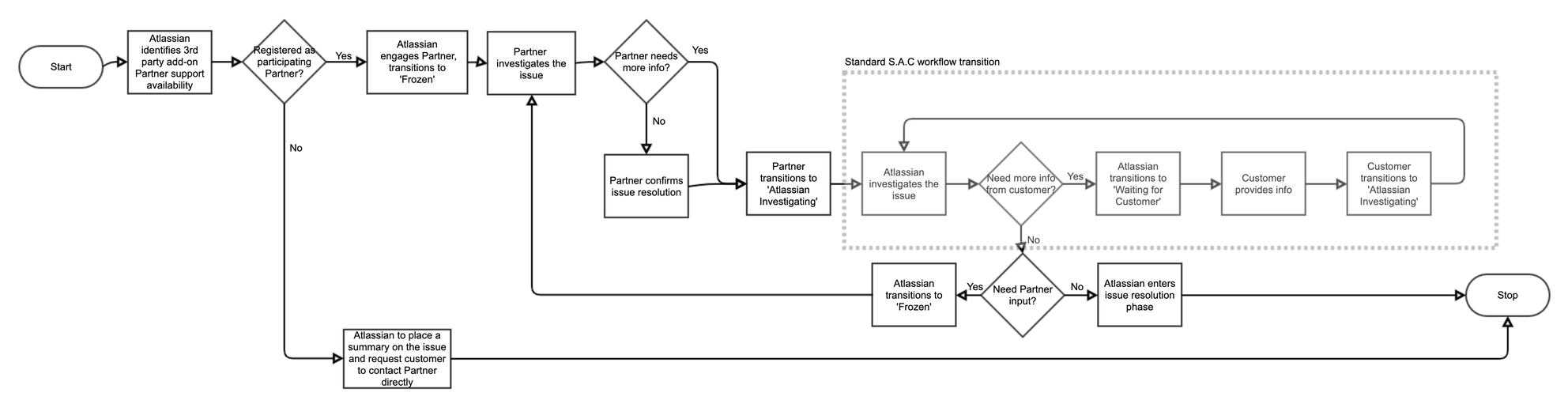
For approval, Marketplace partners must provide and maintain a primary point of contact for customer support requests raised through Atlassian support. This point of contact must respond on the Atlassian support ticket. This process is reflected in the flow below (specifically where a Marketplace Partner is registered as participating).
To satisfy this requirement, please provide the details of a suitable contact address on the approval checklist.

Rate this page: